行业动态

了解最新公司动态及行业资讯

农用土壤破碎能解决什么问题

2018-09-19 01:31:39 181 编辑:admin 来源:本站
      农业是利用动植物的生长发育规律,通过人工培育来获得产品的产业。农业属于 第一产业,研究农业的科学是农学。农业的劳动对象是有生命的动植物,获得的产品是动 植 物本身。农业是提供支撑国民经济建设与发展的基础产业。 
       土地是包含地球特定地域表面及其以上和以下的大气、土壤与基础地质、水文与 植物以及动物,还包含这一地域范围内过去和现在人类活动的种种结果,就人类目前和未 来利用土地所施加的重要影响。中国地理学家普遍赞成土地是一个综合的自然地理概念。 认为土地“是地表某一地段包括地质、地貌、气候、水文、土壤、植被等多种自然要素在 内的 自然综合体”。 
土壤破碎

      农业种植是在土地上种植农作物,在种植前需对土地泥土进行破碎,目前的破碎 设备体积较大,不方便移动,人工破碎效率低、费时费力,因此亟需研发一种体积小方便 移 动、破碎效率高、省时省力的农业用土壤破碎设备。 
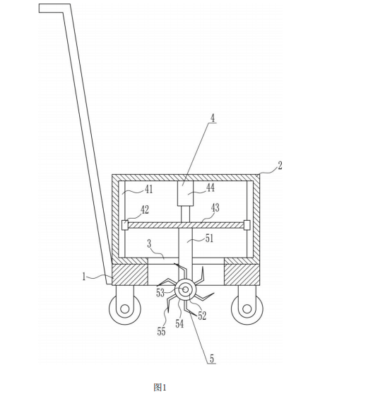
     一种农业用土壤破碎设备。本发明要解决的技术问题是提供一种体积小方便移动、破碎效率高、省时省力的农业用土地泥土破碎设备。为了解决上述技术问题,本发明提供了这样一种农业用土地泥土破碎设备,包括有推车等;推车的车板顶部安装有箱体,箱体的底部和推车的车板中部均开有开口,箱体内设有升降装置,升降装置的升降部件上设有第一破碎装置,第一破碎装置穿过开口。本发明通过第一破碎装置和第二破碎装置对土地泥土进行高效破碎,刮平装置将破碎后的土地泥土进行刮平,从而提高破碎效果,达到了体积小方便移动、破碎效率高、省时省力的效果。

30

装备制造经验

立即免费获取土壤修复方案

为用户提供及时、高效、便捷的服务

在线咨询
AG亚游环境希望与你携手,共创美好未来...
5